Role-Based Access Control (RBAC) for SingleStore Helios
On this page
SingleStore Helios role-based access control (RBAC) framework controls access to functionality in the SingleStore portal.
Benefits of RBAC
-
Increased security: With RBAC, access to SingleStore Helios is strictly limited to those who need it.
This greatly reduces the risk of unauthorized access or changes to the network. -
Least privilege principle: RBAC aligns with the principle of least privilege, which means that users only have the rights they need to perform their job functions and nothing more.
This prevents excessive permissions that could lead to security risks. -
Efficient access management: RBAC allows you to manage users' access rights efficiently.
Instead of manually assigning or changing rights for every individual user, you can assign or revoke roles with predefined permissions. -
Scalability: RBAC scales well as your organization grows.
As you add more users, it becomes more beneficial to manage access rights through roles rather than on an individual basis. -
Regulatory compliance: Many regulatory standards require strict control over who has access to critical data and systems.
RBAC helps meet such requirements. -
Reduced chance of human error: By limiting who can make changes to access via the SingleStore Helios portal, you reduce the chance of human error leading to network issues.
RBAC Framework Implementation
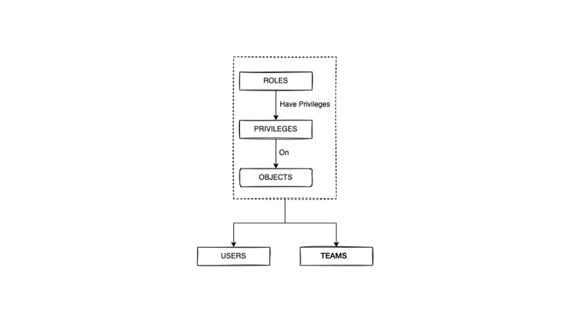
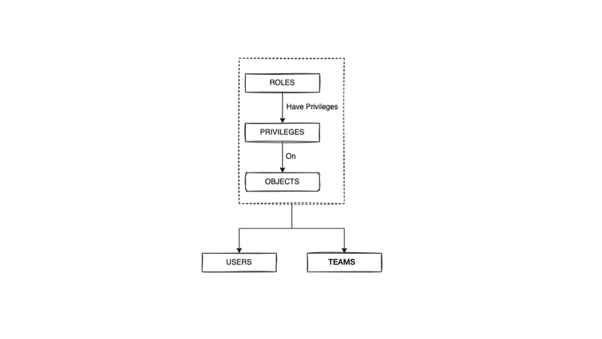
SingleStore Helios RBAC restricts individual database users' access to resources by setting up a role-based environment.

Objects Associated with Users and Roles in the Cloud RBAC Framework
-
Organization: This is the highest level resource that is tied to a customer.
Organizations have a 1:1 mapping to customers. -
At this level, you can view all the workspaces, workspace groups, databases, etc.
-
Billing is done at the organization level but visibility is available at the workspace group level.
-
Members can be added and removed from the organization at this level.
-
-
Team: This is a group of users.
A predefined set of teams corresponding to the organization level roles are created when RBAC is enabled. Additional teams may be created to identify groups of users with specific access roles. Users can be added or removed from the team(s). -
Workspace group: This is a set of workspaces grouped together.
-
Workspace: This is an independent deployment of compute resources that can be used to run a workload.
Workspaces are isolated instances and can read multiple databases. They are useful in maintaining separate environments for example for production and development. -
Database: A database contains objects such as tables, views, stored procedures, pipelines etc.
The RBAC framework for organization users in the SingleStore Helios portal does not enforce any access control on databases. All data access is controlled by the RBAC framework for database users in the database engine.
Difference Between Teams and Roles
Teams simplify granting access to users with similar functions.
If you want to control access at a lower level, i.
Cloud User and Role Synchronization with the Database Engine
SingleStore Helios RBAC does not directly provide any access control to actions performed in the SingleStore database engine.
Hence, SingleStore Helios cannot be used to grant access to individual databases.
When a user is granted any role in a workspace group, synchronization automatically takes place with a corresponding user group existing in the engine.
Refer here for the pre-defined mapping between Cloud RBAC roles and the engine user groups and roles.
Rules for the RBAC Framework
-
Ownership of objects: Owners of a parent object are the only users allowed to create child objects.
For example, only organization owners can create a workspace group. Object owners inherit the owner role on all child objects. Organization owners are owners of all objects in the organization. -
Inheritance of roles in object hierarchy: There is an inheritance of ownership of objects.
For example, owners of workspace groups are also owners of all workspaces in the group. -
Granting of privileges and roles: This is not limited to users but can also be given to a group which is a collection of users.
In this section
Last modified: June 4, 2025